談案例氣動鉆床
氣動鉆床系統機構示意圖如圖8-18所示,工件在料倉里靠重力落下,送料缸的活塞桿伸出,推動工件向右運動實現工件定位,工件定位好后,夾緊缸活塞桿伸出夾緊工件,鉆削缸的活塞桿帶動刀具向下進給,進行鉆削加工。
案例分析:
氣動鉆床氣壓回路如圖8-19所示,案例中的氣動鉆床氣壓傳動系統,是利用氣壓傳動來實現進給運動和送料、夾緊等輔助動作。它共有三個氣缸,即由左至右分別是送料缸、夾緊缸、鉆削缸。

鉆攻中心專業生產
啟動總開關SB,按下SB1后,該氣動鉆床氣壓傳動系統能自動完成:①送料缸進一②送料缸退同時夾緊缸進一③鉆削缸快進一④鉆削缸工進一⑤延時停留一⑥鉆削缸快退一⑦夾緊缸退并復位的動作循環。
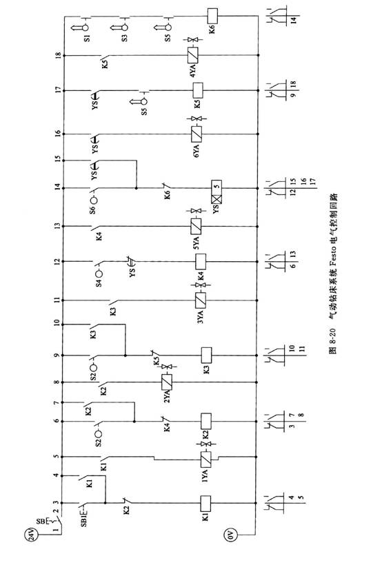
整個氣動系統就是對三個缸的控制,由于氣缸往復頻率較高,因而選擇緩沖氣缸,同時利用行程開關控制氣缸到達行程終點時的預定換向動作。主控閥采用三位五通雙電控先導式電磁閥,氣缸速度通過單向節流閥來調節;為使氣缸快速排氣,加快氣缸運動速度,設置了快速排氣閥;回路中設置的二位二通行程閥是為了實現鉆削缸快進和工進的換接,且可使換接平穩。氣動鉆床電氣控制回路如圖8-20所示。

鉆銑中心專業生產
結論:
<1)根據該鉆床的設計要求,送料、夾緊以及切削分別用不同的氣缸來控制,三個氣缸的動作有嚴格的順序關系。
(2) Festo電氣氣壓模擬試驗中,利用行程開關控制氣缸到達行程終點時的預定換向動作,實際中氣缸也可以采用磁性傳感器來控制氣缸的工作行程。
(3)氣動鉆床系統電磁鐵和行程閥的動作順序見表8_4 0

加工中心專業生產
2024-11
在機測量技術由于其成本低、檢測效率高、無需二次裝夾等優勢被廣泛用于零件加工測量當中,使得五軸加工中心和五軸鉆攻中心,同時又兼具測量功能。在機測量系統的構成如圖1所示,硬件部分主要是由高精度探頭、信號接收器、機床整個本體,軟件部分由機床控制系統、測量軟件等組成[8]。待零件加工完成… [了解更多]
2024-11
?加工精度是影響機床性能和產品質量的主要難題,也是制約國家精密制造能力的重要因素。本文以五軸加工中心為對象,針對提升機床精度進行了研究。并且隨著科技的發展,精密的儀器和零件在生產實踐中占據的分量逐漸增加,在數控機床這種精密機器精度不斷提高的同時,必須控制內外界環境的隨機影響因素在… [了解更多]
2024-11
對于五軸加工中心和五軸鉆攻中心來說,如何有效的預測實際插補刀具擺動軌跡和控制誤差是實現數控機床高精度發展的重要研究方向。在復雜曲面的五軸加工過程中,由于兩個旋轉軸之間的旋擺運動參與了刀具運動合成并導致了實際插補軌跡偏離理論插補軌跡,無論是線性插補還是NURBS插補都存在這一問題,… [了解更多]
2024-11
本文以五軸加工中心和五軸鉆攻中心為研究對象,針對其結構特點,確定了溫度傳感器的安放數量以及安放位置。通過自主設計的全工作區域測量方案以及設備,獲取機床全工作臺的不同位置的熱變形數據。根據模擬數控機床的實際加工過程設計了試驗方案,然后進行了主軸空轉情況下的包含直線軸與旋轉軸運動的數… [了解更多]
2024-11
五軸加工中心和五軸鉆攻中心是現代制造業中不可或缺的一部分,具有精度高、效率高、可以滿足多種復雜形狀零件加工的要求等優點,從航空航天到工業機器人,從醫療用品到消費品,都有著廣泛的應用。但由于數控機床誤差的存在,使得被加工零件的精度受到影響,從而無法正常使用,而加工過程中的動態誤差往… [了解更多]